Live DB Connected to live database

Outlaw's Reckoning II

Event Dates

Sep 28 2025

Entries

No Registration Limit
92 Complete
92 Total

Hosting Club

Northern Ohio Outlaws
11 Upcoming Events
Mid West Region

Arena

Wayne County Fairgrounds
199 Vanover St
Wooster, OH 44691

Registration

June 24-September 24, 2025

Registration Closed

Main Match

CMSA Gear

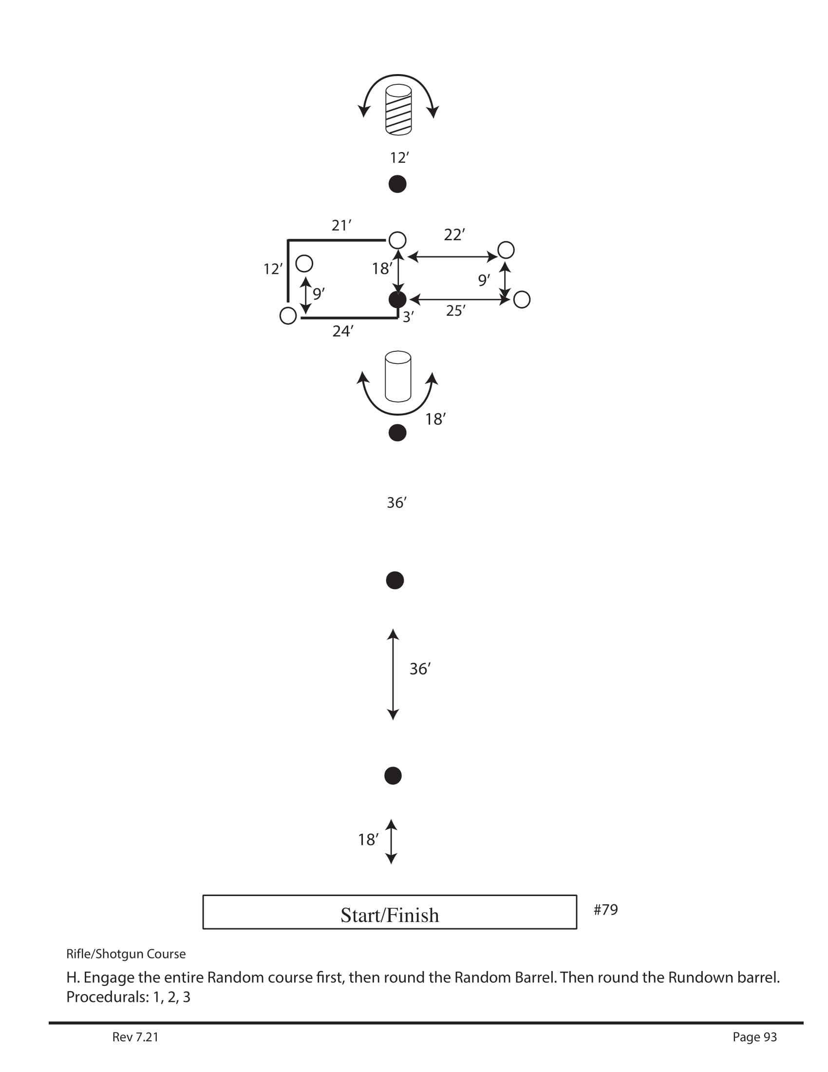
Stage 1

Stage 2

Stage 3

Stage 4